ÿÿÿÿýÇa
Unknown
ÿÿÿÿýÇ^
ÿÿÿÿýÇ\
ZZZ-Unknown (TMA1-UP-US)(Maybe Mario Bros.) (Backdoor Sheet) ...
ZZZ-Unknown (SDM-UP) (Backdoor Sheet) (U)
zwackery
zookeeper
Zoo Keeper (U)
Zoo Keeper
Zoar (U)
zoar
Zing Zing Zip (Service) (JA)
Zing Zing Zip
zerohour
Zero Team.man
Zero Point.man
Zero Point 2.man
Zero Point 2
Zero Hour (Op-Maint-Serv) (U)
Zero Hour
Zaxxon Service Note 012 Joystick
Zaxxon Service Note 010 (08-16-1982)
Zaxxon Service Note 009 (08-09-1982)
Zaxxon Service Note 008 (08-09-1982)
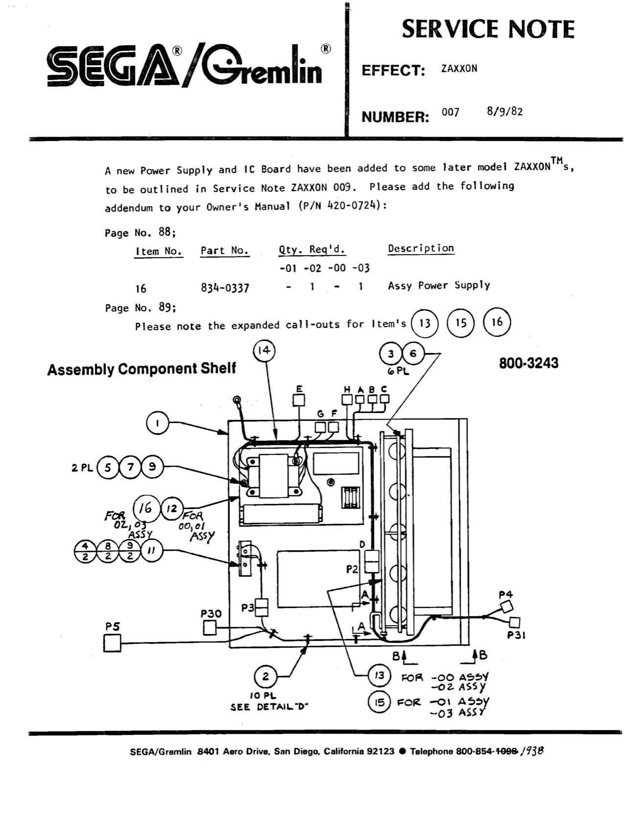
Zaxxon Service Note 007 (08-09-1982)
Zaxxon Service Note 006 (07-15-1982)
Zaxxon Service Note 005 (07-14-1982)
Zaxxon Service Note 004 (07-07-1982)
Zaxxon Service Note 002 (08-09-1982)
Zaxxon Service Note 001 (04-16-1982)
Zaxxon Manual (420-0724)
Zaxxon Manual
Zaxxon Bulletin Joystick Redesign (July 26 1982)
Zaxxon Bulletin Joystick Modification Instructions
Zaxxon (Owner's) (U)
zaxxon
Zarzon (U)
zarzon
YieArKungFu Manual
yiearkung-fu
YieArKung Fu
Yie Ar Kung Fu Schematics
Yie Ar Kung Fu Owners Manual (Japan)
Yie Ar Kung Fu Kit Instruction Manual
Yie Ar Kung Fu Bulletins
Yie Ar Kung Fu (Conv. Kit Instructions) (U)
Xybots TM-313 1st Printing